產品簡介
WL系列立式排污泵采用大通道葉輪,具有無堵塞、抗纏繞、高效節能的特點,并進行型譜化設計,采用全新結構,借鑒潛污泵的成功經驗,軸密封采用機械密封,無泄漏。泵與電機共軸,結構緊湊,便于維修。針對流量與揚程間的關系,優化了進、出水口徑、轉速等參數,運行更穩定、可靠。
型號說明

主要用途及使用條件
WL系列立式排污泵主要用于市政工程、工農業、醫院、建筑、賓館、飯店等行業,用于輸送帶有固體及各種長纖維的廢水、城市生活污水和雨水、還包括原水的輸送、水產養殖、灌溉等。(配以特殊材質,可用于有一定腐蝕性的介質場合。)
使用條件
1、 輸送介質溫度不超過+40℃;
2、 輸送介質PH值為4-10;
3、 輸送介質中的固相物的容積比在2%以下;
4、 電壓380V、50Hz(其它電壓可按合同制造);
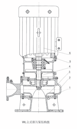
結構說明
WL系列排污泵為立式結構,泵與電機共軸,單級單吸蝸殼式排污泵。該系列泵安裝簡單,維修方便。泵的轉向從電機端看為順時針方向旋轉。
 | 1、 耐磨環 泵殼和葉輪之間裝有易于更換的耐磨環以保護葉輪。 2、 泵殼為單蝸殼型,分布于葉輪周圍收集液體。過流表面光滑,通道斷面大,效率高,無堵塞。出口法蘭上備有安裝壓力表的管螺紋孔,用戶可在此安裝壓力表,以監視泵運行時的出水壓力。 3、 葉輪 葉片式或流道式大通道葉輪,具有較強的抗纏繞和無堵塞性能,經過動平衡試驗,運行平穩。揚程較高的泵,由葉輪后密封環等組成水力平衡機構,平衡軸向力,延長軸承、機械密封使用壽命。 4、 軸密封 采用機械密封,保證了泵在運行時無泄漏。 5、 監測裝置 電機內裝有溫度探測元件,并輸出信號。用戶如有需求,可將此信號引入控制柜,對泵的運行情況進行監控、保護。 6、 電機 采用節能型三相異步電機。性能可靠。電機與泵共軸,結構緊湊,運行平穩,避免了因對中問題引起的振動、噪聲。 |
WL系列立式排污泵供貨范圍
1、 立式排污泵由帶加長軸的電機與水泵結合成為一整體,為必供件。其余為選購件、易損件,須用戶訂合同時注明。
2、 選購件有:控制柜、攔污柵(其外形尺寸及安裝尺寸由用戶確定)、蝶(閘)閥、止回閥、截止閥液位開關、可撓性橡膠接管、地腳螺栓(一套)。
3、 易損件有:葉輪、密封環、軸承、機械密封。
訂貨須知
1、 在合同中應注明準確的產品型號和產品名稱、安裝形式、性能參數(流量、揚程、電機功率)和使用電壓。
2、 控制柜應注明啟動方式(直接啟動、自耦降壓啟動、可控硅軟啟動)、液位控制方式(浮球液位、壓力變送器數顯液位)、安裝形式(戶外型、戶內型)。
3、 如需配端子箱,應注明是控制型,還是接線型。
4、 在“供貨范圍”中需由用戶確定的尺寸應及時提供。
5、 如有其它特殊要求,簽訂合同前請與本公司銷售部門聯系。